재현성 및 통계 방법론: 심리과학 연구 신뢰성 재평가

2015년 Open Science Collaboration(OSC)이 발표한 논문(Nosek et al., 2015)은 심리학 분야에서 발표된 연구 결과의 상당 부분이 재현되지 않는다는 충격적인 주장을 제시하였다. 본 논문에서는 그 주장을 여러 관점에서 재검토한다. 먼저 OSC가 사용한 방법론을 확대 분석하여, 해당 방법론 자체가 OSC가 보고한 재현성 비

재현성 및 통계 방법론: 심리과학 연구 신뢰성 재평가

초록

2015년 Open Science Collaboration(OSC)이 발표한 논문(Nosek et al., 2015)은 심리학 분야에서 발표된 연구 결과의 상당 부분이 재현되지 않는다는 충격적인 주장을 제시하였다. 본 논문에서는 그 주장을 여러 관점에서 재검토한다. 먼저 OSC가 사용한 방법론을 확대 분석하여, 해당 방법론 자체가 OSC가 보고한 재현성 비율과 유사한 다른 연구에서 제시된 보다 낙관적인 재현성 추정치 사이의 차이를 스스로 설명할 수 있는 편향을 유발한다는 점을 보여준다. 이어 일반적인 문헌 검토와 실험 과학 전반에 걸친 재현성 논의를 제공한다. 우리는 과학적·윤리적 이유 모두에서, 거짓 양성률에만 일방적으로 집중하기보다 거짓 양성률과 거짓 음성률을 균형 있게 고려하는 접근이 바람직하다고 주장한다.

상세 요약

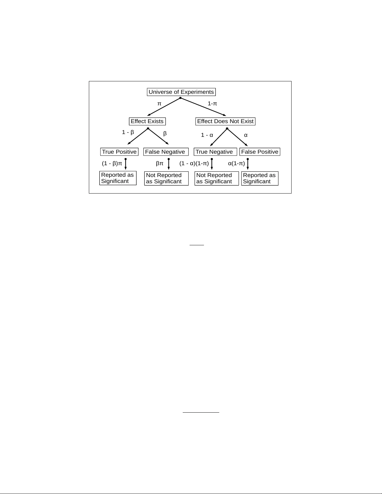
OSC 연구는 100여 개의 심리학 논문을 무작위로 선정하고, 원 논문의 실험을 독립 연구팀이 동일한 절차로 재현하도록 하였다. 재현 성공 여부는 원 논문의 주요 가설 검정에서 p 값이 0.05 미만인지 여부로 판단했으며, 이를 “재현 성공”으로 정의했다. 이러한 이진 판단 기준은 실제 연구 현장에서 흔히 사용되는 “통계적 유의성”에 지나치게 의존한다는 점에서 근본적인 편향을 내포한다. 첫째, 원 논문이 사전 검정(power) 계산 없이 발표된 경우가 많아, 실제 효과 크기가 작아도 우연히 통계적 유의성을 얻을 가능성이 존재한다. 둘째, 재현 실험에서는 원 논문의 표본 크기와 동일하거나 더 큰 표본을 사용했지만, 효과 크기 추정치가 원 논문과 정확히 일치하지 않을 경우 p 값이 0.05를 초과할 가능성이 높다. 이는 “거짓 음성”(false negative)으로 오분류되는 경우를 증가시켜 재현성 비율을 인위적으로 낮추는 결과를 낳는다.

또한 OSC는 재현 성공을 “원 논문과 동일한 방향의 유의한 효과”로만 정의했으며, 효과 크기의 신뢰구간이 겹치는지, 혹은 효과의 실질적 의미가 유지되는지에 대한 검토는 하지 않았다. 이는 효과의 실질적 재현 가능성을 평가하는 데 한계가 있다. 예를 들어, 원 논문의 효과 크기가 0.30 SD였고 재현 실험에서 0.25 SD가 관찰되었다면, 통계적 유의성 차이로 인해 재현 실패로 간주될 수 있지만, 실제로는 두 효과가 실질적으로 유사하다고 볼 수 있다.

통계적 관점에서 보면, OSC는 거짓 양성률(False Positive Rate, α)만을 고정하고 거짓 음성률(False Negative Rate, β)을 고려하지 않은 설계이다. 과학적 탐구에서는 α와 β 사이의 트레이드오프를 균형 있게 설정해야 한다. α를 낮추면 거짓 양성은 감소하지만, β가 상승해 실제 존재하는 효과를 놓칠 위험이 커진다. 반대로 β를 낮추면 거짓 양성 위험이 증가한다. OSC가 제시한 “재현성 36%”라는 수치는 이러한 트레이드오프를 무시하고 α만을 강조함으로써, 실제 과학 공동체가 감수해야 할 오류 비용을 과소평가한다.

윤리적 측면에서도, 연구자와 정책 입안자는 거짓 양성에 대한 과도한 두려움 때문에 혁신적인 연구를 억제하거나, 부정확한 부정적 결과를 과학적 사실로 받아들일 위험이 있다. 따라서 재현성 평가에서는 효과 크기와 그 불확실성, 연구 설계의 강건성, 사전 검정(power) 등을 종합적으로 고려하는 다차원적 접근이 필요하다. 향후 연구에서는 베이지안 재현성 지표, 메타분석 기반 효과 추정, 그리고 사전 확률을 반영한 의사결정 프레임워크를 도입함으로써 거짓 양성·거짓 음성 모두를 균형 있게 관리할 수 있을 것이다.


📜 논문 원문 (영문)

🚀 1TB 저장소에서 고화질 레이아웃을 불러오는 중입니다...