음극 저항 회로의 소산성 분석

본 논문은 전압·전류 구간에서 음의 기울기를 보이는 비선형 저항 소자를 포함한 회로를, 전통적인 수동성 이론을 확장한 ‘부호 저장·부호 공급’ 프레임워크로 분석한다. 증분 변수와 서명 행렬을 이용해 저장 함수와 공급율을 동시에 부호화함으로써, 패시브와 액티브 요소가 혼합된 회로의 안정성·우세성(dominance) 특성을 체계적으로 평가한다.

저자: Felix A. Mir, a-Villatoro, Fulvio Forni

음극 저항 회로의 소산성 분석
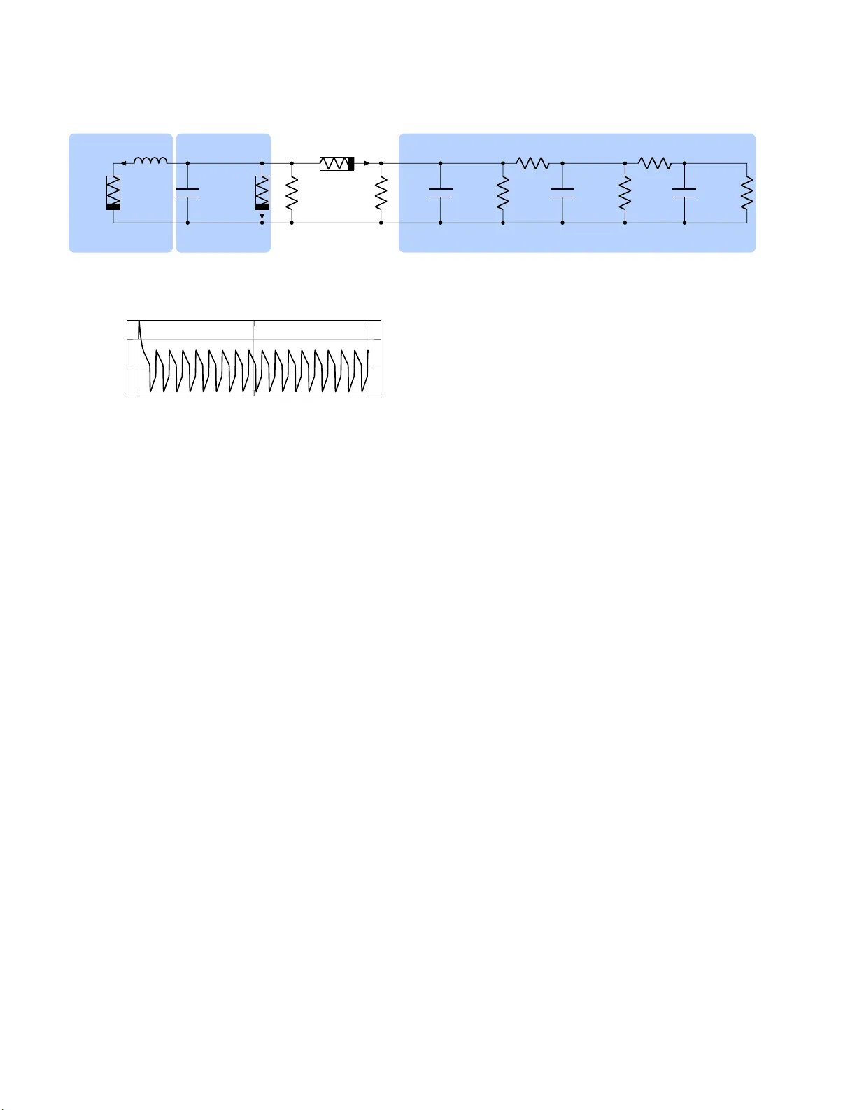
본 논문은 비선형 회로에서 패시브 소자(콘덴서, 인덕터, 저항)와 함께 음극 저항을 갖는 액티브 소자를 결합한 시스템을, 기존의 수동성(passivity) 이론을 확장하여 분석한다. 서론에서는 수동성 이론이 주로 기계·전기‑기계 시스템에 적용돼 왔으며, 비선형 회로, 특히 음극 저항을 포함한 회로는 비평형 행동(스위칭, 발진, 혼돈) 을 나타낸다고 지적한다. 기존 연구와 차별화하기 위해 저자들은 두 가지 주요 변형을 도입한다. 첫째, 회로 동작을 **증분 변수(Δv, Δi, Δx)** 로 기술함으로써, 차분 형태의 에너지 흐름을 명확히 한다. 이는 비선형 회로 이론에서 널리 사용되는 방법이며, 미분형 Lyapunov 분석과도 일맥상통한다. 둘째, **부호 저장 함수(signed storage function)** 와 **부호 공급율(signed supply rate)** 을 도입한다. 저장 함수는 대칭 행렬 P의 관성을 (p, 0, n‑p) 로 제한해, p개의 음의 고유값을 허용한다. 이는 전통적인 양의 정의 저장 함수와 달리, 시스템이 일부 차원에서는 에너지를 방출하고, 다른 차원에서는 저장한다는 물리적 의미를 갖는다. 공급율은 전통적인 ⟨v,i⟩ 형태 대신, 서명 행렬 I=Diag(±1,…,±1) 와 대칭 행렬 Q, R 로 구성된 2차 형식 Q·I·I·R 으로 정의된다. 이 구조는 포트가 에너지를 흡수하거나 공급할 수 있음을 수식적으로 표현한다. 논문은 먼저 전압 제어 저항과 전류 제어 저항을 모델링한다. 전압‑전류 특성의 기울기가 음수인 구간을 ‘액티브 영역’이라 부르고, 이 영역에서 소자는 에너지를 공급한다. 식 (2a), (2b) 로 표현된 두 부등식은 각각 ‘패시브 부족’과 ‘반패시브 초과’를 정량화한다. 이를 일반적인 2차 공급율 형태(식 3) 로 재작성하면, 부호 행렬 I 가 양·음 부호를 동시에 가짐을 확인한다. 다음으로, 캐패시터와 음극 저항을 병렬 연결한 기본 회로(그림 3)를 분석한다. 캐패시터는 전통적인 저장 함수 C·(Δv)²/2 로 표현되며, 음극 저항은 −Δv·Δi + G_d(Δv)² ≥ 0 형태의 부등식으로 나타난다. 두 소자를 병렬 연결하면 전체 시스템의 저장 함수는 음의 고유값을 갖는 형태가 되며, 이는 부호 저장 함수의 한 예가 된다. 핵심 이론적 기여는 **우세성(dominance) 이론** 과의 연결이다. 우세성은 시스템의 장기 거동이 저차원(예: p=1이면 이진 스위치, p=2이면 2차원 주기적 궤도) 으로 지배된다는 개념이다. 정의 1과 정리 2, 3을 통해, 시스템이 p‑우세(p‑dominant)임을 확인하려면 행렬 P(관성(p,0,n‑p)) 와 λ≥0 가 존재해 부등식 (9)·(10) 을 만족해야 함을 보인다. 특히, ε>0 인 경우는 ‘엄격 우세성(strict dominance)’ 으로, 시스템이 해당 차원에서 수렴하거나 제한된 궤도를 형성한다는 강력한 결과를 제공한다. 부호 소산성 부등식(13)은 이러한 우세성 조건을 증분 형태와 결합한다. Δ˙xᵀPΔx ≤ ΔvᵀQIΔv + ΔiᵀRIΔi 로 표현되며, 여기서 Q·I·I·R 은 음·양 공급을 모두 포괄한다. 정의 5에 따라, 이 부등식이 모든 궤적 쌍에 대해 성립하면 회로는 **부호 수동(signed passive)** 라고 부른다. 이는 기존의 증분 수동성(Δ˙xᵀPΔx ≤ ΔvᵀΔi) 을 일반화한 것으로, 음극 저항을 포함한 비평형 회로에서도 에너지 흐름을 일관되게 기술한다. 논문의 후반부에서는 실제 회로 설계 예시를 제시한다. 1‑스토리지(콘덴서)와 2‑스토리지(콘덴서+인덕터) 를 갖는 스위치와 발진기 모델을 분석하고, 각 경우에 대해 p‑우세와 부호 수동성을 검증한다. 또한, 서로 다른 부호 공급율을 갖는 서브시스템을 **커플링 네트워크** 로 연결하는 방법을 제시한다. 이 네트워크는 포트 간 전압·전류 관계를 조정해 전체 시스템이 원하는 p‑우세 특성을 유지하도록 설계된다. 결론에서는 제안된 프레임워크가 전통적인 수동성 이론의 한계를 넘어, 음극 저항을 포함한 복합 비선형 회로의 안정성·우세성 분석에 강력한 도구가 됨을 강조한다. 또한, 전기 회로에 국한되지 않고, 일반적인 동적 시스템의 소산성 이론에서도 부호 저장·공급 개념을 적용할 수 있음을 시사한다. 향후 연구로는 비선형 다중 포트 시스템, 고차 비선형 소자, 그리고 실시간 제어 설계에 이 이론을 확장하는 방향을 제안한다.

원본 논문

고화질 논문을 불러오는 중입니다...

댓글 및 학술 토론

Loading comments...

의견 남기기