상관관계 기반 주성분 분석을 이용한 기계‑부품 셀 형성 모델

** 본 논문은 기계‑부품 매트릭스의 상관관계 행렬을 유사도 지표로 활용하고, 주성분 분석(PCA)을 통해 기계와 부품을 동시에 군집화하는 새로운 셀 형성 방법을 제시한다. 두 단계(유사도 행렬 구축 → PCA 기반 군집)로 구성되며, 예제와 다섯 개의 공개 데이터셋을 통해 기존 방법과 비교했을 때 우수한 군집 효율성, 기계 활용도, 예외 요소 비율을 달성함을 보인다. **

저자: Wafik Hachicha (U2MP), Faouzi Masmoudi (U2MP), Mohamed Haddar (U2MP)

상관관계 기반 주성분 분석을 이용한 기계‑부품 셀 형성 모델
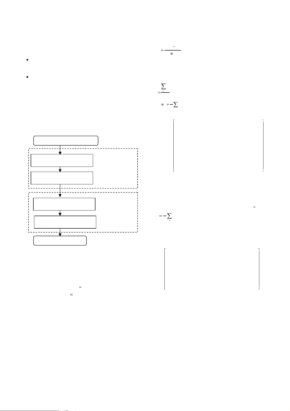
** 본 논문은 그룹 기술(Group Technology, GT)과 셀러 제조(Cellular Manufacturing, CM)에서 핵심적인 문제인 기계‑부품 셀 형성(Cell Formation, CF)을 해결하기 위해 새로운 다변량 분석 프레임워크를 제안한다. 기존 연구들은 주로 코딩·분류, 그래프 이론, 진화 알고리즘, 신경망 등 다양한 기법을 활용했지만, 대부분이 유사도·거리 기반 클러스터링에 의존하거나 복잡한 파라미터 튜닝이 필요했다. 저자는 이러한 한계를 극복하고자, 이진 인시던스 매트릭스(기계‑부품 관계)를 먼저 표준화한 뒤, 각 행(부품)·열(기계) 간의 피어슨 상관관계(correlation)를 계산하여 유사도 행렬 S를 만든다. 이때 S(i,i)=1이며, S(i,j)∈

원본 논문

고화질 논문을 불러오는 중입니다...

댓글 및 학술 토론

Loading comments...

의견 남기기